ТСП-1187
Доступен для скачивания
краткий каталог продукции:
Термопреобразователь сопротивления ТСП-1187 используется для измерения температуры жидких и газообразных сред во взрывоопасных зонах, в которых могут содержаться аммиак, азотоводородная смесь, углекислый газ, природный или конвертированный газ и его компоненты, а также агрессивные примеси сероводорода (H2S) и сернистого ангидрида (SO2)
Конструкция и принцип действия: Принцип действия термопреобразователей сопротивления основан на свойстве проводника менять электрическое сопротивление пропорционально изменению температуры окружающей среды (ГОСТ Р 6651-2009). Конструктивно такие термопреобразователи выполняются в виде катушки из тонкой медной или платиновой проволоки на каркасе из изоляционного материала или используются тонкопленочные чувствительные элементы, заключенные в защитную гильзу
Технические характеристики:
| Параметры
| Значение |
| Номинальная статическая характеристика (НСХ) | 50П |
| Диапазон измеряемых температур |
–50…+200°C
|
| Класс допуска
|
В
|
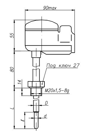
| Длина монтажной части (L)
| 80 мм, 100 мм или 160 мм |
| Диаметр монтажной части (d, D)
| 6 мм, 8 мм |
| Исполнение коммутационной головки | прессматериал АГ – 48 |
| Защита
| IP55
|
| Схема соединения внутренних проводников | 2-х проводная |
| Габаритные размеры |
l = 45 мм |
Версия: 2022-01-26-ЛВС